
从 Power Mac G5 开始,Apple 慢慢的转变为一家铝制品加工厂,从生产时尚可爱的产品(iMac G3,iBook 1999 等),进化为一家生产“危险品”的公司,“危险品”就是那些铝制品,尤其是现今,比如最近的 iPod Shuffle 3代,到此前的新一代MacBook,第四代 iPod nano,MacBook Air,新款 iMac……,都有非常锋利的边缘,纯真的90度夹角(双倍45度的华丽?),完整、纯粹、坚固、锐丽。尤其是那 MacBook 的 Unibody,从整个铝块中挖掘而出足以让人惊叹,如石雕带给人的整体和坚固感。而在 MacBook 之前的 iMac 一样有这种整体感,可以从上图感受一下,那么 iMac 是否也是从铝块中挖掘而出的呢?虽然在开始我们单凭想象很难从成本和效率的角度去认同 MacBook 的 Unibody 的可行性,但这么大的 iMac 而且相比 MacBook C壳空旷的内部如果也是这种加工工艺,那么即使在现在也是无法想象的。那么 iMac 的这一道亮利的风景线是如何加工而来的呢?iMac 是用整张铝板加工而成,而金属冲压都有一个自然(或人工)的圆角过度,何来这双倍45度的华丽。
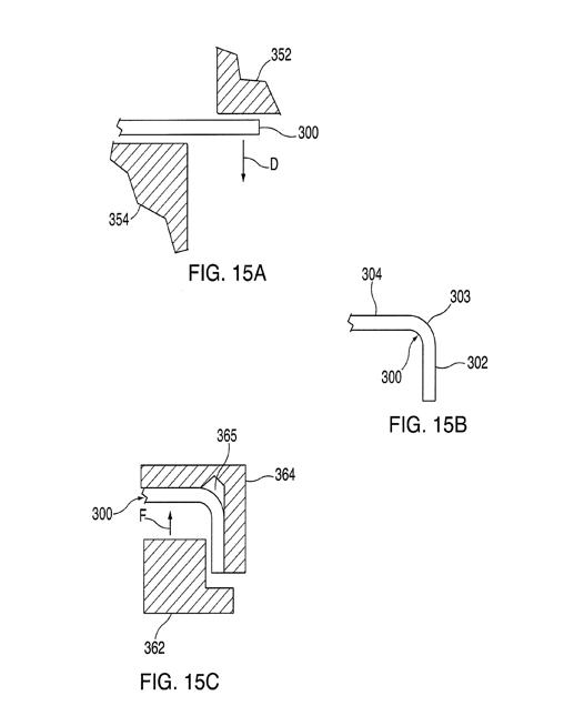
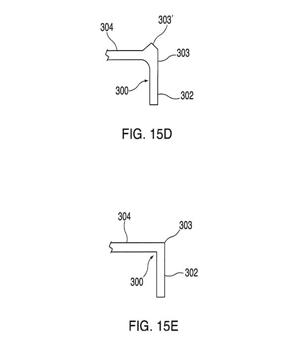
在 USPTO (美国专利商标局)看到与这有关的一个Apple 申请中的专利,叫做 HOUSING COMPONENTS FOR ELECTRONIC DEVICES AND METHODS FOR CONSTRUCTING THE SAME ,刚好可以解释,铝板经过一次深冲压,然后锻压,然后加工出90度,结果就是让人感觉如同整个铝块中挖掘而出一样。见下图:


城市笔记本在介绍斯卡帕的维罗纳人民银行时,曾提到斯卡帕对90度切角的处理,预先在交界处挖去一个圆孔,就可避免切过头或者切不好看。这也是一种常见的方法,尤其是在机械加工中,学过制图的都知道有一个“退刀槽”,而 iMac 这道锋利的边线的形成工艺也可以看作是同样的思维。
相关文章